
Imagem: PlayStation
IA poderá jogar por você em nova patente registrada pela Sony
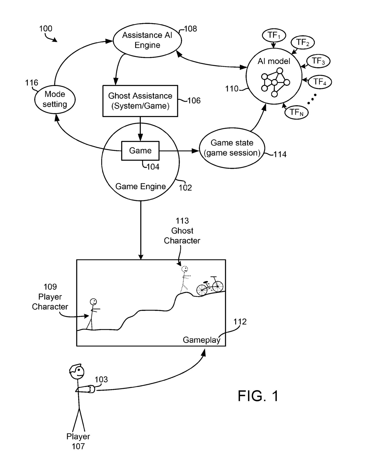
Chamado Ghost Player, o recurso usaria IA para controlar o personagem e concluir partes do jogo
Atire a primeira pedra quem nunca ficou preso e perdeu horas para conseguir passar de alguma parte de um jogo. E se agora você contasse com a IA para te ajudar nessas horas? É isso que a nova patente da Sony sugere.
O conceito, chamado ‘Ghost Player’, vai utilizar a inteligência artificial para controlar o personagem e ajudar o jogador a concluir partes específicas do jogo, podendo até mesmo finalizar o game automaticamente.

Imagem: Charles Sims na Unsplash
Nova patente da Sony promete ajudar jogadores
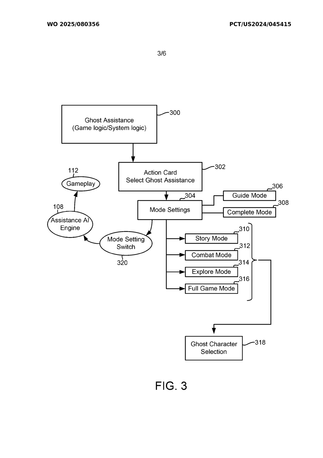
O recurso incluiria dois modos. No Modo Guia, a IA mostraria o passo a passo de como passar da fase. Enquanto que no Modo Completo, o sistema completaria toda a seção para o jogador.
Para alcançar esse nível de execução, a Sony usará gravações de jogos já existentes online, ao invés de utilizar personagens pré-definidos por desenvolvedores. A nova patente pode servir como uma evolução do Game Help do PlayStation, que atualmente oferece dicas, imagens e até vídeos explicativos para guiar os jogadores no gameplay.


Vale lembrar que patentes não são necessariamente ideias que vão se concretizar – são apenas formas de garantir a autoria e direitos sobre o projeto. Dessa forma, não há confirmações de que o Ghost Player será, de fato, implementado em jogos no futuro. Porém, sem dúvidas, seria interessante ver como funcionaria na prática.
Via: Insider Gaming
Quer encontrar os melhores preços de games na internet? Conheça o Low Games! Descontos em jogos, acessórios, consoles, Gift Cards e muito mais para todas as marcas! Visite: https://www.lowgames.com.br/












Comentários