
Imagem: Sony
Sony registra patente de novo headset VR
A Sony registrou uma patente para um novo headset VR que pode oferecer mais conforto para alguns jogadores. Entenda!
A Sony deve revelar o PlayStation 5 Pro em um evento que está marcado para hoje. E, além dos planos para o videogame, parece que a empresa trabalha em um novo headset VR.
Sony trabalha em novo headset VR
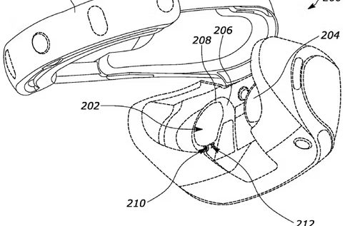
Segundo mostra uma patente, ao invés de ser focado em novas tecnologias que fariam a diferença nos jogos, o próximo headset VR da Sony seria capaz de permitir o uso de lentes de prescrição.
A ideia da empresa com o novo periférico seria reduzir o seu peso e proporcionar um conforto maior para, por exemplo, os jogadores que precisam utilizar óculos na hora de jogar. Para isso, o headset VR teria um tipo de compartimento em que as lentes poderiam ser acopladas.




Como mostram as imagem acima, o desenho visto na patente da Sony não é o PS VR2, o que reforça a teoria de um novo periférico. Entretanto, outros recursos vistos no PS VR2 também estão listados na patente, como o rastreamento ocular.
PS VR2 não emplacou
Alguns rumores que surgiram neste ano sugerem que o orçamento destinado a jogos do tipo VR diminuiu bastante pelo lado da Sony. Não somente isso, a empresa, além de ter reduzido o preço do periférico em alguns países, um acessório foi lançado para permitir o seu uso em PCs.
O registro de uma patente, vale lembrar, não significa necessariamente que um produto novo está prestes a ser lançado, mas é uma forma da marca proteger um projeto ou ideia. Essa patente em questão foi registrada em março de 2023, mas virou pública somente agora em setembro de 2024.
E aí, leitor. Você acha que a Sony ainda deve investir em mais um headset VR? Ou será que essa ideia não vai para a frente? Participe ao deixar seu comentário!
Fonte: Game Rant
















Comentários